• Home
  • Chemistry
  • Astronomy
  • Energy
  • Nature
  • Biology
  • Physics
  • Electronics
  • Patent Revealed: Apple Logo Could Illuminate Notifications
    Patent Revealed: Apple Logo Could Illuminate Notifications

    Credit: United States Patent Application, 20190297177

    How could two blah words "adjustable decoration" garner so much chatter in days? Well, it's about Apple, that's one hotly scented trail, and it's about how the Apple logo might become more than a brain imprint for Apple products.

    A patent application from Apple, as discussed by AppleInsider, suggests the use of its logo as a notification light. That's not all.

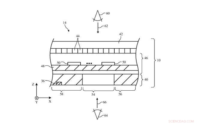
    The AppleInsider article by Malcolm Owen summarized technical details of what the decorations could entail: an adjustable optical component that changes how things seen through the layer appear, which may be a tint, a haze layer, a mirror layer, a thin-film interference filter using a dielectric stack, and color filters, carrying various effects and opacities.

    The application is titled "Electronic Devices with Adjustable Decoration." The adjustable decoration may have an appearance, said the patent authors, that is electrically adjustable by control circuitry in the electronic device.

    This is where the concept would welcome the user's personal whims. Owen noted that "a control in the Settings app where the user can make the rear Apple logo on an iPhone appear to be a reflective yellow color, or one that stands out more from the rest of the casing, or even blending in to hide the logo from cursory glances."

    All in all, the patent that Apple applied for, if the proposed descriptions ever get put into action, would mean you would see the Apple logo on the back of your iPhone behaving as a notification light.

    Jon Porter in The Verge, though, pointed out that phones might or might not turn out be a sole target for the idea. Other form factors appeared to be part of the patent discussion. Suggestions the patent had the iPhone in mind was the patent talk referring to "cellular telephone" calls—but then again "the patent also includes images showing a series of 'illustrative electronic devices' including a laptop, a tablet, and what appears to be an iMac," he said.

    The patent's "Detailed Description" section said, "Electronic device 10 may be a tablet computer, a wristwatch device, a wearable device (e.g., a head-mounted device), or other device." The patent application was published on September 26 by the US Patent and Trademark Office. The application had been filed in September last year.

    So, Apple fans might air out the window of their brains on branding and allow for the apple to do notifications according to type of message, such as calendar reminder versus incoming message.

    Patently Apple said, "Further to incoming communications, the appearance of adjustable decoration #40 can be adjusted (e.g., by flashing, changing once or twice, etc.) to alert the user of the presence of incoming communications or other event."

    Good idea? Would Apple fans treat the logo-lighting concept as useful and cool, or rather silly? GSMArena had reader comments including this: "And they will call it a feature and ask 200 more bucks for it." Actually, though, one could easily find tech watchers whose comments signaled Apple had a good idea. They ignored the why and said, why not?

    Shomik Sen Bhattacharjee in Mashable India thought the idea of a logo doubling up as a notification indicator could be practical. Smartphones generally have notification LEDs on the front, "but if the phone is flipped lying down, say when you don't want someone passing by to take a peek and read a notification, then it could be a super useful addition."

    Jon Porter in The Verge pointed out that It wouldn't be a massive leap for it to bring back its illuminated logo with a little practical functionality added." Porter had reminded readers how the older MacBooks had illuminated logos.

    David Nield, TechRadar, said it was "one way that Apple might try to change up the look of the 2020 iPhones and the ones that follow—so, imagine a flashing Apple logo telling you about an incoming call while your phone is flat on a desk and muted."

    © 2019 Science X Network




    Science Discoveries © www.scienceaq.com