• Home
  • Chemistry
  • Astronomy
  • Energy
  • Nature
  • Biology
  • Physics
  • Electronics
  • Microsoft Unveils Foldable Device Patent Featuring Electromagnetic Coil Technology
    Microsoft Unveils Foldable Device Patent Featuring Electromagnetic Coil Technology

    Credit: United States Application US20190267963

    Microsoft's patent filing recently made public has juiced up curiosity over what Microsoft might debut sooner or later as its own version of a folding computing device.

    MSPoweruser took the view that "Microsoft is trying hard to bring its first foldable device to the market, like every other big tech companies." It's apparent now that "the Redmond giant has filed yet another patent for its much-awaited foldable Windows 10 device."

    The patent "Multi-Sided Electromagnetic Coil Access Assembly" was filed in February last year but only recently made public. It is particularly drawing interest because, as TechRadar said, what would make this foldable idea work would be "a multi-sided electromagnetic coil for wireless charging."

    The authors described the proposed technology approach in the patent summary. They said the tech "addresses one or more of the foregoing problems by providing multi-sided magnetic access to an electromagnetic coil of a multi-configuration computing device in the presence of one or more metal structures, such as a conductive (e.g., metal, graphite) computer device chassis or midframe."

    They talked in terms of an implementation that had these characteristics:

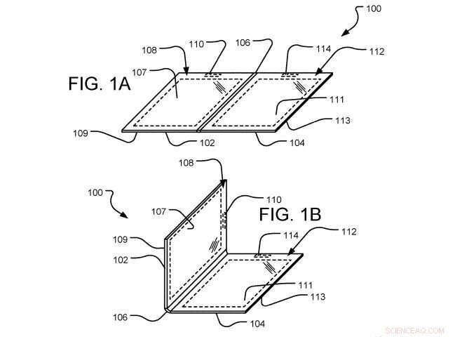
    "...a first side, a second side, an electromagnetic coil, and a first metal frame having a first through-slot. The computing device also a second computing device portion having one or more other electrical components, a third side, a fourth side and a second metal frame having a second through-slot.

    "A mechanical joint connects the first computing device portion and the second computing device portion such that the first side is positioned to face the third side and the electromagnetic coil overlaps the first through-slot and the second through-slot along an axis running orthogonal to the first computing device portion and the second computing device portion.

    "Control circuitry adjusts matching to compensate for different physical configurations, and firmware switches the radiofrequency configuration, including without limitation drive voltage, Amplitude Load Modulation (ALM) phase synchronization, DLMA (dynamic load modulation amplitude), and DPC (dynamic power control) as they change between different physical configurations."

    Technology watchers got busy helping to clear the lint of patent English into sentences that could convey what the inventors had in mind. Mayank Parmar is creator and editor in chief of Windows Latest. "Unlike the previous patents from the Redmond firm, the one that we discovered today uses a multi-sided electromagnetic coil," he said.

    Parmar had a useful article for translating as well as a good choice of diagrams. "Microsoft's solution will also use non-shielding through-channel that would allow a magnetic field to access the electromagnetic coil from either side of the closed or reverse-closed computing device," said Parmar.

    He made note that the patent talk included the words "inductive charging" circuitry and near field communication (NFC) circuitry as connected to the coil. "In theory, inductive charging is a term that's commonly used for 'wireless charging or cordless charging'. This wireless charging technology uses an electromagnetic field to transfer energy."

    Darren Allan, TechRadar, successfully waded through the difficult patent talk to reach an understanding amongst the "many heaped paragraphs" that Microsoft here had thought of "a nifty-sounding trick up its sleeve which could help the likes of NFC and wireless (inductive) charging perform better with a dual-screen 2-in-1.

    HotHardware's Paul Lilly is another patent-talk translator who cut to the chase: "Instead of a phone that opens up into a tablet, this could be a dual-display variant of a future Surface PC."

    According to the patent, the inventors appear to have found a way of working around the challenge of multiple physical configurations "when designing magnetic access to electromagnetic coils inside a computing device, particularly in the presence of metal casing, metal framing, and other metal components."

    Although "multiple physical configurations present an opportunity to use Near Field Communications (NFC) and inductive charging from multiple sides of the computing device in various physical configurations," metal structures can diminish operations—fatally—that rely on internal electromagnetic coils.

    The patent authors' concept: a "multi-sided magnetic access to an electromagnetic coil of a multi-configuration computing device in the presence of one or more metal structures, such as a conductive (e.g., metal, graphite) computer device chassis or midframe."

    Lilly observed that "Microsoft is no longer interested in building smartphones as it once was, but a dual-display form factor could be in the cards."

    Lilly further reminded readers of Microsoft's frontline history when it comes to the 2 in 1 form factor. "Bear in mind that Microsoft is largely responsible for popularizing the 2-in-1 form factor. Traditional clamshell laptops ruled the day when Microsoft decided to dabble in hardware with its first Surface, and now 2-in-1 devices and detachables are fairly common."

    The patent noted that control circuitry adjusts matching to compensate different physical configurations. Firmware switches the radiofrequency configuration.

    © 2019 Science X Network




    Science Discoveries © www.scienceaq.com