• Home
  • Chemistry
  • Astronomy
  • Energy
  • Nature
  • Biology
  • Physics
  • Electronics
  • Apple’s Latest Foldable iPhone Patent Signals Upcoming Foldable Device
    Apple’s Latest Foldable iPhone Patent Signals Upcoming Foldable Device

    A drawing from Apple's flexible design patent shows a device bent like a pyramid.

    It is extremely unlikely you'll see a "foldable" iPhone anytime soon, much less in September when Apple is likely to introduce the next generation of its popular handsets.

    But 2020 could be another story.

    On Valentine's Day, or just under a week before rival Samsung is expected to showcase a new foldable Galaxy phone, Apple filed an update to an existing flexible display patent that suggests the company is busily advancing its own work on such designs that could allow you to turn an iPhone into an iPad.

    Apple has not yet responded to a USA TODAY request for comment.

    Samsung's upcoming foldable isn't exactly a guarded secret. The South Korean tech giant showed off a folding prototype at a developer conference this past November, and more recently teased the flexible phone's likely appearance at a media event in San Francisco on Wednesday in an aptly titled video "The Future Unfolds."

    Why foldable?

    The idea is that such a flexible display would let you use the device the way you use a traditional phone, that is until you unfold it so that the screen becomes tablet sized. If rumors prove true, in its folded form, Samsung's will have a 4.6-inch screen. The unfolded display is expected to exceed 7-inches.

    The device has yet-to-be-named publicly or given a price.

    At the Mobile World Conference industry confab in Barcelona later this month, foldable phones—and nascent handsets that exploit emerging 5G networks—are going to be all the rage. Companies such as China's Huawei and Xiaomi are expected to focus the spotlight on their own foldable phone designs.

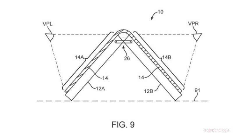
    Apple's latest patent application includes 24 drawings that demonstrate ways in which future devices might be bent. And those future devices could include iPads or Mac portables as well as iPhones.

    In one drawing, the product is bent like a pyramid, suggesting that two people sitting opposite each other could each view their own screen while competing in a game or watching some other content.

    A couple of important words of caution. Tech companies often file for patents on ideas that never see the light of day. Apple, in particular, is also extremely secretive. Just because such design concepts are revealed in a patent, doesn't mean that whatever features such concepts suggest will look anything like the final products that are ultimately released.

    (c)2019 USA Today
    Distributed by Tribune Content Agency, LLC.




    Science Discoveries © www.scienceaq.com