• Home
  • Chemistry
  • Astronomy
  • Energy
  • Nature
  • Biology
  • Physics
  • Electronics
  • Apple Patent Reveals Siri Could Offer Personalized Voice Responses
    Apple Patent Reveals Siri Could Offer Personalized Voice Responses

    Credit: United States Patent 10,049,675

    Different strokes for different folks? An Apple patent idea newly made public could mean Siri would deliver personalized responses depending on who is speaking to it. The patent "User profiling for voice input processing" was made public August 14 but was filed in April last year. The inventor is named as Allen Haughay. The applicant is named as Apple.

    The rather dull descriptive of "multi-user support" is anything but dull when it comes to what could be in line for the even-smarter future of Siri. AppleInsider was telling readers that Apple is considering ways to allow Siri to provide personalized results for specific users speaking to it, and The Verge said that the patent hints that Siri could offer multi-user support.

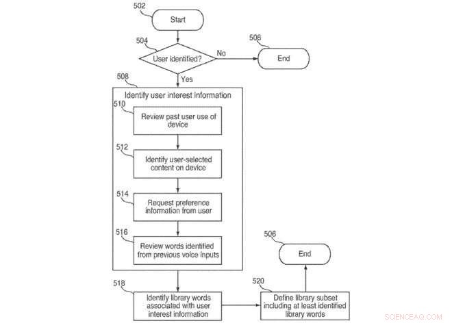
    AppleInsider's Malcolm Owen had the story: The patent for "User profiling for voice input processing" filed with the U.S. Patent and Trademark Office , detailed how voice recognition could identify the user by his or her speech to use a pre-existing registered user profile.

    That voice recognition could involve biometric information, which the patent suggests could be a "voice print." (Think in lines of a stored template to identify individuals through their voice.) Owen said that profile would help the digital assistant perform tasks, including items that only could be performed just for that user.

    Chaim Gartenberg, The Verge, highlighted what would be special if this patent came to life. "Siri can already distinguish an iPhone owner's voice from other people, but it has so far been unable to provide customized responses for different users."

    Once the device proceeds to identify different users, (via user name and password, recognizing specific commands, or voice print) then what happens?

    Gartenberg said, "the device would be able to respond using a library of past commands to match a specific user's content preferences, requests, and phrasings to make Siri more accurate."

    Swapna Krishna in Engadget also wrote about how the patent idea would kick in with a new flavor: "This system would allow a user to set up profiles on their phone, and Siri could match the voice of whoever is speaking to the onboard profiles and customize responses. For example, a phone's primary user could restrict calendar or message access to protect information they'd like to keep private." Apple watchers saw resonance in news about HomePod.

    So what is next? Will this Apple idea translate into an Apple product?

    Whether or not you choose to spend any time thinking about whether or not Apple will do anything with the patent, one thought from Gartenberg is hard to dismiss: "But if anyone is holding out for the dream of, say, a multiuser iPad, it's nice to see that Apple is working on something that's at least adjacent to that."

    While there are those who keep saying don't be surprised if this never materializes into something, since all patent talk is just that, patent talk, another camp would not be surprised if this does become something real. Owen said "the appeal of multi-user support in Siri for HomePod, as well as the fact it's a software-based concept rather than requiring hardware changes, gives it a good chance of being produced."

    David Phelan, who watches consumer tech, wrote in Forbes "Although it was published yesterday, it was filed in April last year, which may suggest that Apple is pretty advanced with the technology behind it by now."

    © 2018 Tech Xplore




    Science Discoveries © www.scienceaq.com