• Home
  • Chemistry
  • Astronomy
  • Energy
  • Nature
  • Biology
  • Physics
  • Electronics
  • Amazon Patent Highlights Accent Translation Innovation
    Amazon Patent Highlights Accent Translation Innovation

    Credit: US20180174595

    You have heard of the language divide. But in this ever shrinking world we need to also worry about the accent divide.

    Jay sweez bawn, eht vooz?

    Bonkers, really. Shed-you-uhl looking right nahsty.

    Americans struggling to speak French; British conversationalists puzzling their American cousins: A lot of patience and understanding get lost in accents, leave alone lack of translations. This is not just a cross-continent problem; regional accents within countries raise comprehension problems too. Amazon has a solution. That said, it is time to call attention to this month's interesting patent news.

    Amazon has been thinking about accent translation technology—that is the info from PatentYogi, the website that, talking about translation, does a good job in translating patent ideas into words that we instantly grasp.

    In this case, PatentYogi is talking about the publication of Amazon's patent application regarding closing the gap on accents.

    "Individuals that learn a second language often learn to speak the second language using an accent associated with a primary language."

    Care to repeat that, Cowboy?

    OK: "even when individuals speak the same language, they have difficulty understanding one another because of their different accents."

    Amazon's patent discussion is all about a fix.

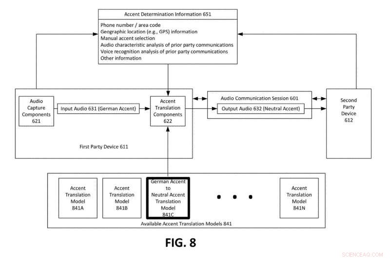
    What about an accent translator that can translate an audio signal from one accent to another accent? This is Amazon's proposed approach, where voice recognition and audio signals step in.

    Amazon is talking about a cocktail of real-time accent detection and translation.

    Greg Synek, TechSpot, said that "location data, phone numbers, and previous correspondence are all used to help identify the correct accent to use. Only a few words would be needed coupled with the previous information to accurately determine how a user is likely to be speaking." With the right tools, one can detect the accent of a speaker and change it to the accent of the listener.

    Say two people with different accents are in a phone call. A sample sorter, audio signals and translator module go to work. ("Once the accent is correctly identified, the translator converts the speech into the accent of the listener in real time, allowing the conversation to flow smoothly," said TechRadar.)

    Neowin said, "the system would also be powered by artificial neural networks and AI, training and making it more accurate over time."

    Filing date of the patent application was in 2016 and the publication date was June 21. "Original assignee" was listed as Amazon Technologies, Inc.

    Do we really need something like this? An obvious thought comes to mind: Why, yes.

    In TechCrunch, Coldewey mentioned an area that could make use of Amazon's idea. "The most obvious place for an accent translator to be deployed is in support, where millions of phone calls take place regularly between people in distant countries. It's the support person's goal to communicate clearly and avoid adding to the caller's worries with language barriers."

    He also made the observation that, already, "Accent management is a major part of these industries; support personnel are often required to pass language and accent tests in order to advance in the organization for which they work."

    Interestingly, it was in July where "The Accent Gap" article appeared in The Washington Post, talking about, Alexa, along with Google's Home, and discussing how they measure up when it comes to accents. Drew Harwell, technology reporter, said, "as voice becomes one of the central ways humans and computers interact, even a slight gap in understanding could mean a major handicap."

    That language divide could present a huge and hidden barrier to the systems that may one day form the bedrock of modern life, he wrote.

    The Washington Post had teamed with research groups to study the smart speakers' accent imbalance, testing took place across nearly 20 cities. The systems, they found, showed notable disparities.

    So, what's next? Is this yet another patent that tech watchers say may or may not see the light of day?

    Devin Coldewey in TechCrunch: "The patent doesn't mean the company has made it (or necessarily that it will be granted), but there's also no technical reason why it can't do so."

    Actually, he said he felt confident that there was "a real possibility a product will ship in the next year or so." Why does Coldewey say that? "It's kind of a no-brainer, especially considering all the work that's being done right now in natural language processing." He also said, "Amazon has a huge amount of money and engineering talent dedicated to natural language processing."

    © 2018 Tech Xplore




    Science Discoveries © www.scienceaq.com