• Home
  • Chemistry
  • Astronomy
  • Energy
  • Nature
  • Biology
  • Physics
  • Electronics
  • Apple Develops Blood Pressure Monitoring System
    Apple Develops Blood Pressure Monitoring System

    Credit: United States Patent 2018/0153418 A1

    Counting calories or how many steps you will need to take to work off a wedding feast are not the only features of fitness monitoring. Patients today may be asked to check their blood pressure at home and will be interested to know what is being proposed in an Apple patent regarding the same.

    Apple could be offering something in that direction. Fast Company on Thursday wrote about a patented blood pressure cuff. "The company was awarded a patent today for a "low-profile blood pressure measurement system," said Mark Sullivan in Fast Company.

    As per the patent filing: "High blood pressure or hypertension is common medical condition, yet it often goes undetected or untreated. According to the Centers for Disease Control, 1 in 3 adult Americans have hypertension, and only about half of those diagnosed with the disease are under adequate blood pressure control."

    The patent text also noted that actual measurement of blood pressure can vary, regarding one's recent activity, body position at the time of measurement, alcohol and caffeine and stress levels. Even at a doctor's office there is a phenomenon known as "white coat hypertension."

    AppleInsider said it was a patent "for what appears to be a blood pressure-measuring device that connects to existing Apple devices."

    The patent application, titled "Cuff Designs and Methods" is credited to six individuals, and it was filed in June 2016.

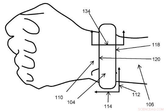
    This is the patent description: "A blood pressure measurement system, comprising: a pressure sensor; an expandable member comprising a plurality of expandable cells, wherein the plurality of expandable cells comprises at least three expandable cells or at least two repeating expandable cells; and an expansion actuator configured to selectively expand the expandable member."

    Why are writers fairly convinced it would be attached to the Apple Watch?

    "I would be very surprised to see Apple release its own free-standing blood pressure cuff," Sullivan said. "Building blood pressure monitoring capability into an existing Apple product seems more likely."

    Stephen Silver in AppleInsider made note of the fact that the blood pressure measurement system was compatible with technologies like the iPhone and Apple Watch.

    Ben Lovejoy in 9to5Mac seemed to have no trouble linking the band idea to Apple Watch. He said an Apple patent published describes "a clever method for calculating blood pressure using nothing more than an Apple Watch with a sensor-equipped band."

    AppleInsider called it a "blood pressure instrument" and said it could be one of Apple's next moves in health care— an inflatable band to read your blood pressure. Sullivan said that it's no secret that Apple wants to move deeper into healthcare.

    Certainly enough signs can be found to back up Sullivan's remark.

    Silver's list of the moves on Thursday in AppleInsider : "Apple launched HealthKit in 2004, and has continued to expand its functionality since. Earlier this year, Apple signed up 12 major U.S. health care providers to support Health Records in iOS, an effort to digitize health records and easily help providers share data while treating patients; that number has since expanded to 39. Earlier this week, Apple opened its Health Records API to developers."

    © 2018 Tech Xplore




    Science Discoveries © www.scienceaq.com