• Home
  • Chemistry
  • Astronomy
  • Energy
  • Nature
  • Biology
  • Physics
  • Electronics
  • Amazon Patents Secondary Delivery Vehicle for Last-Mile Delivery
    Amazon Patents Secondary Delivery Vehicle for Last-Mile Delivery

    Credit: USPTO

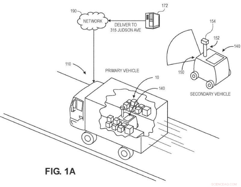
    Amazon Inc. has applied for a patent on a package delivery system that involves a primary vehicle for carrying packages destined for multiple drop-off points, and a secondary, much smaller, delivery vehicle that carries packages from the primary vehicle to the end-point destination.

    Over the past several years, Amazon and other entities, such as UPS, have been looking into the possibility of using a variety of technological means for delivering packages from warehouses to consumers. Such efforts have included deploying driverless vans with robots aboard, and drones that can fly straight to customers or drop packages from parachutes. The whole point is to be both more efficient and less costly. It is assumed that electronic delivery robots would be cheaper than human labor. In this new effort, the team at Amazon appears to be looking into a rather novel solution—loading small autonomous vehicles onto its delivery trucks to serve as package carriers to final destinations.

    In their application, the primary vehicle, the van, is still piloted by a human. But the truck is still loaded with technology—instead of it existing to help the van or its driver though, the technology is meant to help the little autonomous delivery vehicle. As the van pulls up to a house, for example, the house and its exterior would be scanned and studied to determine the best path for the secondary vehicle. Once the path has been decided, it would be sent to the secondary vehicle, which would then roll itself down a ramp to get to the street. As the secondary vehicle makes its way to the front porch, the van would monitor its progress, and send updates if need be. The secondary vehicle would also be outfitted with cameras and navigational gear. As it makes its journey, it would send back images to the primary vehicle along with any other data pertaining to possible obstacles or problems—such as the appearance of a dog. Once the package has been delivered, the two vehicles would then work together to ensure the safe return of the secondary vehicle.

    Amazon Patents Secondary Delivery Vehicle for Last-Mile Delivery

    Credit: USPTO

    As with all patent applications, it is not clear if Amazon is intending to pursue such a system, or if it is developing variations of it, such as having flying drones pop out of the back of the truck.

    Science Discoveries © www.scienceaq.com