• Home
  • Chemistry
  • Astronomy
  • Energy
  • Nature
  • Biology
  • Physics
  • Electronics
  • Hybrid Brain-Computer Interfaces Detect Drivers’ Hard and Soft Braking Intentions
    Hybrid Brain-Computer Interfaces Detect Drivers’ Hard and Soft Braking Intentions

    Scientists from Beijing Institute of Technology proposed the hBCIs that incorporate EEG and EMG signals. Credit: Jiawei Ju et al.

    A technical paper by scientists at the Beijing Institute of Technology introduced simultaneous and sequential hybrid brain-computer interfaces (hBCIs) that incorporate EEG and EMG signals for classifying drivers' hard braking, soft braking, and normal driving intentions to better assist driving.

    "The work is valuable for developing human-centric intelligent assistant driving systems to improve driving safety and driving comfort, and promote the application of BCIs," explained study authors Longxi Luo, an assistant professor, and Jiawei Ju, a research assistant, of the institute of human machine systems (IHMS) directed by Luzheng Bi, a professor at the Beijing Institute of Technology.

    Road traffic accidents (RTA) has become one of the most important factors causing casualties and economic losses. Traffic accidents cause nearly 1.35 million deaths and 20-50 million injuries every year. Nearly 3% of China's GDP is consumed as a result of traffic accidents every year for medical expenses and loss of personnel productivity. In addition, with fast the pace of science, technology, and economic development, vehicles on the road are increasing year by year, and RTA is predicted to be the fifth factor leading to death in 2030.

    An intelligent driver assistance system (IDAS) can indirectly influence vehicle control by notifying drivers of possible emergencies or directly controlling vehicles after detecting emergencies, effectively improving drivers' driving safety.

    Some IDASs need to detect drivers' drowsy state and distraction state Other IDASs depend on driving behavior detection and prediction of driving intentions. If an IDAS can detect drivers' hard braking intention in advance, it can directly control vehicles to take hard braking.

    In this study, braking is a specific behavior that slows or stops the vehicle. The braking can be classified into hard braking and soft braking. Hard braking refers to the behavior in which the driver presses the pedal hard to quickly decrease the vehicle speed in face of an emergency during driving. In contrast, soft braking refers to the behavior in which drivers press the pedal softly to slowly decrease the vehicle speed.

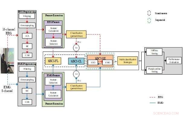
    The input information of IDASs mainly consists of vehicle and surrounding-related, behavior-related, and biological signal-related information. The vehicle and surrounding environment information mainly come from vehicle parameters and traffic information. Driver behavior-related information can be obtained mainly by monitoring the activities of drivers' feet, limbs, and heads. Biological information includes electroencephalography (EEG) signals and electromyography (EMG) signals. Although BCIs based on EEM signals have made great progress in braking intention detection, the detection performance is not stable because of the properties of EEG signals.

    A hybrid brain-computer interface (hBCI) is an effective scheme that can address the shortcomings of EEG-based BCIs, such as low stability, poor performance, and insufficient reliability.

    According to how the signals are combined, the hBCIs fall into two modes: one that combines two or more kinds of EEG signals, such as ERD, ERS and P300, another combines EEG and other signals, such as EMG signals and ECG signals.

    However, existing methods of braking intention detection based on hBCIs are developed to recognize the hard braking intention from normal driving or soft braking intentions. To make these detection methods of hard braking intention more applicable in realistic driving situations, an EEG-based detection method to distinguish hard braking, soft braking, and normal driving intentions was already proposed in our previous study. Experimental results suggested the feasibility of this detection method. However, the performance of this detection method was not good. The offline testing average accuracy of the three classes of driving intentions based on spectral features was 70.93%.

    To address this problem, in this paper, we aim to develop simultaneous and sequential hBCIs based on EEG and EMG signals to recognize hard braking, soft braking, and normal driving intentions. The contribution of this paper is that it is the first work to use the fusion of EEG and EMG signals to recognize hard braking, soft braking, and normal driving intentions.

    "The accuracy of our new system in recognizing hard barking, soft braking, and normal driving intentions reached 96.37%," said study authors.

    The research was published in Cyborg and Bionic Systems. + Explore further

    Autonomous driving – hands on the wheel or no wheel at all




    Science Discoveries © www.scienceaq.com